RAY FS WS 453/455

MECHANICAL FLOW SENSOR

Application

Volume measuring device to measure thermal quantities

Features

  • Possibility of remote transmission of quantities of flow
  • For easy reading the complete head part with totalizer can be turned to any position
  • Easily removeable reed-switch
  • The pulse transmitter is fitted with a 100 Ω, ¼ W series resistor (cable length 3 m) - can be supplied without series resistor on request
  • Contact load (without series resistor) max. 24 V AC/DC (protective low voltage) 0.2 A
  • Outstanding continuance of accuracy even with extreme charges because of vane bearing beeing of ring saphire and carbide metal
  • Considerably extended measuring range towards small flows compared to documentation of metrological class
  • As a safeguard against magnetic influences, a sealable antimagnetic screen is fitted on the meter
  • Approved according MID in class 2 and 3
  • Completely dry-running
  • General
    ApplicationHeating
    Mounting positionHorizontal
    Medium temperature range°C15 ... 105
    Ambient temperature°C5 ... 55
    Ambient classE1 + M1
    Nominal pressurePNbar161
    Protection classIP 54
    ApprovalMID (DE-15-MI004-PTB010)
    1 special version on request
  • Reach

    Information pursuant to Article 33 (1) of Regulation (EC) No 1907/2006 of the European Parliament and of the Council of 18 December 2006:
    This product series contains components with the following substances in a concentration of more than 0.1% weight by weight (w/w):
    - Lead (CAS no.: 7439-92-1)

  • Technical data
    Nominal diameterDNmm506580100150
    Nominal flow rateqpm³/h15254060150
    Maximum flow rate (short-term)qsm³/h30305075187.5
    Minimum flow rateqil/h6001000160024006000
    Starting flow ratel/h606090901000
    Pressure loss at qpΔpbar0.060.140.090.070.09
    Pulse value reed switch 1l/pulse10 / 10010 / 10010 / 10010 / 10010 / 100
    Metrological class 2qp / qi25:125:125:125:125:1
    Flow rate at 0.1 bar pressure lossm³/h19214270160
    1 other pusle values on request
    2 other qp / qi on request
  • Display range
    Nominal diameterDNmm506580100150
    0.5 l ... 999,999 m³
    5.0 l ... 9,999,999 m³
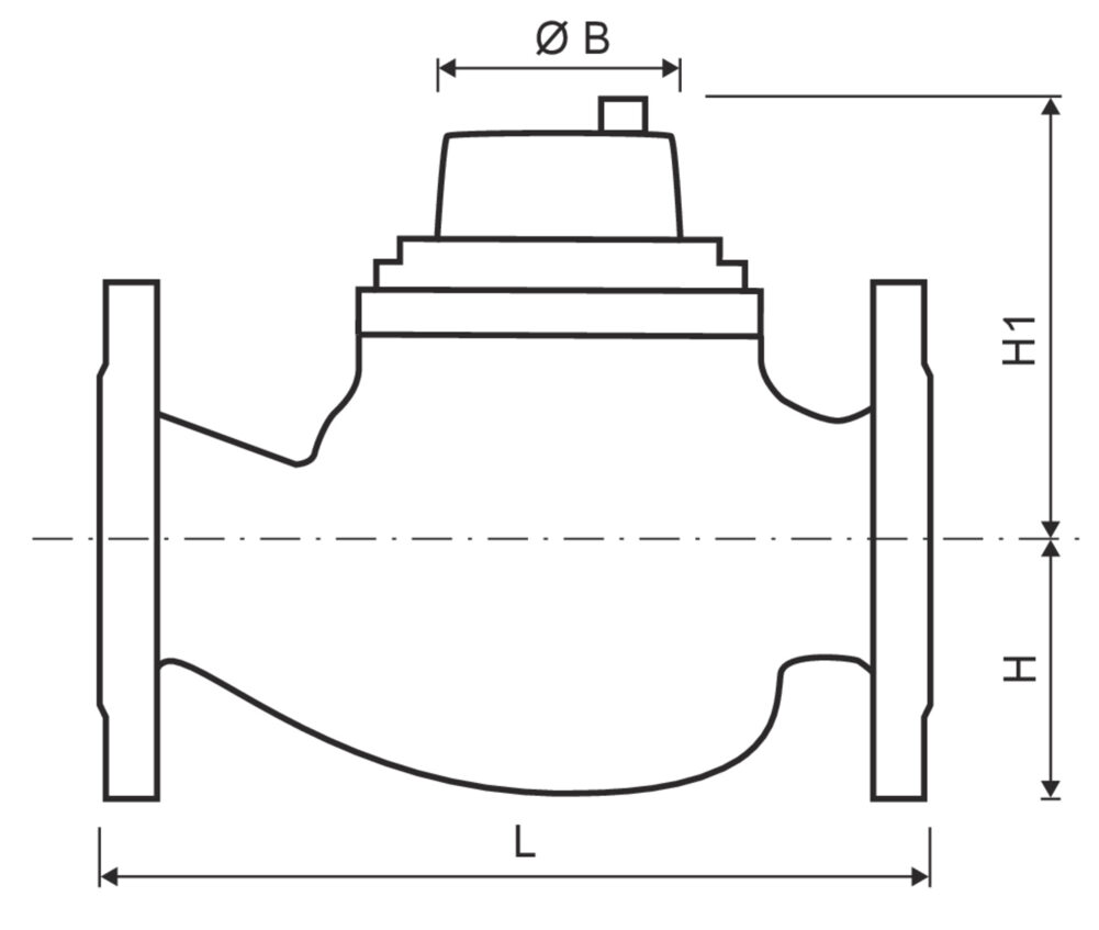
  • Dimensions
    Nominal diameterDNmm506580100150
    Overall length (DIN 19625)Lmm270300300360500
    Overall length (DIN ISO 4064)Lmm300300350350500
    Flange diameterDmm165185200220285
    Hole circle diameterKmm125145160180240
    Number of screwholespcs448 / 488
    Screwhole diameterD1mm1818181823
    HeightHmm8497102113155
    Height (without counter extension)H1mm155155190200400
    Height (with counter extension)H1mm195195230240440
    DiameterØ Bmm165185200220285
    Weightkg14.218242879.5
  • Pressure loss graph / Typical error graph